Tour de Tesla
La tour de Tesla, également connue sous le nom de tour de Wardenclyffe (1901–1917), était une tour de transmission sans fil conçue par Nikola Tesla, située sur Long Island près de New York, et prévue pour la téléphonie et la diffusion sans fil transatlantique commerciales ainsi que pour démontrer la possibilité de transmission d'énergie sans fil[1],[2].
Tesla imaginait également pour son système des applications similaires, dans leur principe, au télécopieur, à la géolocalisation, à la synchronisation d'horloges et à la radiodiffusion (qui n'existait pas encore à l'époque) de nouvelles et de musique.
La tour n'a jamais été totalement opérationnelle[3] et a été démolie en 1917.
Histoire
    
    Historique de l'idée de transmission sans fil chez Tesla
    
Le projet de la tour Wardenclyffe est l'aboutissement d'une longue démarche de réflexion et d'expérimentation de Tesla qui rêvait d'un système de distribution d'énergie électrique et d'information sans fil, qui pourrait couvrir le monde entier.
- Evolution de l'idée de transmission d'énergie sans fil
 Brevet 593138 du pour la transmission d'énergie à un seul fil (idée de 1891). Point de départ de l'idée de transmission d'énergie sans fil. La transmission d'énergie est réalisée par le fil, et le circuit de retour par le sol. Brevet 593138 du pour la transmission d'énergie à un seul fil (idée de 1891). Point de départ de l'idée de transmission d'énergie sans fil. La transmission d'énergie est réalisée par le fil, et le circuit de retour par le sol.
 
 Vérification expérimentale en 1898 de transmission d'énergie par gaz raréfié, simulant la haute atmosphère. Vérification expérimentale en 1898 de transmission d'énergie par gaz raréfié, simulant la haute atmosphère.
Premières idées et expériences
    
L'origine de ce projet remonte à l'idée de Tesla de transmission d'énergie électrique par un seul fil, sans circuit de retour, de 1891, brevetée en 1897[Ca 1]. En effet, pour que l'énergie circule, il est nécessaire d'établir un circuit électrique qui doit se refermer sur lui-même et doit donc comprendre un circuit de retour et en général deux fils que l'on trouve dans nos cordons d'alimentation habituels. Le brevet de 1897 utilisait la terre comme circuit de retour, réduisant fortement les coûts de système de distribution d'énergie. Cette technique est fonctionnelle, et utilisée de nos jours sous la dénomination de Single-wire earth return (en) (SWER).

Puis, pendant les années 1890, l'idée émerge progressivement dans l'esprit de Tesla que la terre pourrait être utilisée non pas en circuit de retour, mais pour transmettre l'énergie elle-même par conduction, sans aucun fil. Tesla développe l'idée que les courants terrestres pourraient être exploités et disciplinés par résonance : en déterminant la fréquence de résonance de la Terre, considérée comme un énorme conducteur plein et sphérique, il pourrait être possible, avec une dépense d'énergie minimale, de faire surgir des "vagues" d'énergie électrique en tout point de la Terre[Ca 2] (voir #Transmission de l'énergie par la Terre). Il évoque cette possibilité en 1893 devant le Franklin Institute et la National Electric Light Association (en)[On 1].
Vers 1895, Tesla lance une série d'expériences pour tester les courants électriques terrestres. Tesla utilise une grande bobine en forme de cône, reliée à la terre à l'extrémité inférieure et laissée à l'air libre à l'extrémité supérieure. Il ajuste les paramètres de l'installation afin de produire un minimum d'émission d'ondes électromagnétiques, en maximisant son inductance et en minimisant sa capacitance, pour transmettre un maximum d'énergie par la terre[Ca 2]. La bobine est excitée par un courant à haute fréquence. Tesla arrive ainsi à produire d'importantes décharges électriques à l'extrémité supérieure. Pour Tesla, ce phénomène est une preuve qu'il arrive à exploiter les courants électriques présents dans l'écorce terrestre[Ca 2].
Le problème du circuit de retour
    

Comment créer un circuit de retour également sans fil ? Alors que l'air est un isolant à pression normale, Tesla avait remarqué que l'électricité pouvait circuler dans du gaz raréfié présent dans un tube de Crookes. Tesla suppose alors que le circuit de retour pourrait passer par la haute atmosphère, avec des terminaux supportés par des ballons, ou des stations en haute montagne[Ca 1]. En 1898, Tesla essaye dans ses laboratoires de Houston Street à New-York de faire circuler de l'électricité dans un tube de 15 m de long où il avait baissé la pression jusqu'à 120-150 mmHg (la pression à 8 000 m d'altitude). C'est un succès. Il découvre que la tension et la fréquence du courant alternatif doivent être très élevées pour assurer la conduction du courant dans ces conditions[Ca 1].
Ce succès le rend extrêmement confiant dans ses idées de transmission d'énergie sans fil et Tesla commence à rêver d'un système mondial de distribution d'énergie et d'information sans fil, et ce projet devient le sujet majeur de ses recherches et de sa créativité. Tesla communique abondamment dans la presse sur ce sujet et, alors que Marconi vient tout juste de réussir la première liaison transmanche par radio en 1899, il promet qu'il pourra bientôt joindre le monde entier, jusqu'à Manille ou Tokyo à partir de New-York[4], non par des ondes hertziennes comme Marconi, mais par pure conduction d'électricité. Bien qu'ayant contribué de manière importante aux techniques permettant de générer et contrôler les ondes hertziennes, Tesla ne croyait pas dans l'efficacité de celles-ci pour communiquer de l'information, et encore moins pour transporter de l'énergie, et ne jurait que par la conduction[Ca 1].
Le brevet de 1897
    
En 1897 il dépose un brevet de transmission d'énergie sans fil (Brevet 645576)[Br1 2]. Le schéma ressemble à celui de la transmission à un seul fil, la transmission d'énergie se faisant par la haute atmosphère, mais le brevet évoque également la possibilité de transmission par la terre[Br1 1]. En 1932, dans une interview à John J. A. O'Neill, Tesla a déclaré qu'il avait envisagé les deux possibilités : transmission de l'électricité par la haute atmosphère et par la Terre, et qu'il avait abandonné la première possibilité[5].
Le schéma ressemble à celui d'un émetteur d’ondes radioélectriques de l'époque, avec des antennes, à tel point que c'est ce brevet qui sera retenu en 1943 (peu de temps après la mort de Tesla) pour établir la priorité de Tesla par rapport à Marconi dans la découvertes des techniques de diffusion radio[Ut 1],[6]. Mais ce dispositif est "renversé", en cherchant au contraire à minimiser l'émission d'ondes hertziennes et maximiser les courants de terre : pour cela, Tesla maximise l'inductance du circuit et minimise sa capacitance[Ca 2]. C'est cette configuration qui sera retenue pour les expériences de Colorado Springs et Wardenclyffe.
Colorado Springs
    

Mais Tesla a besoin de données complémentaires pour mettre au point ce système. Quelles tensions, fréquences, altitude sont réellement nécessaires pour des applications industrielles ? Comment se comporte la conduction terrestre et atmosphérique à grande échelle, et à des tensions encore plus grandes ? En quête de fonds, Tesla courtise l'homme d'affaires J.J. Astor qui est fasciné par la science et la technologie et écrit des nouvelles de science-fiction[Ca 3]. À la suite d'une cour assidue, il finit par convaincre Astor de prendre la majorité des parts de la Nikola Tesla Company, ce qui lui assure 100 000 $ (trois millions USD actuels) de fonds. Bien qu'Astor soit principalement intéressé par un nouveau système d'éclairage fondé sur des oscillateurs et un nouveau système d'ampoules, Tesla va utiliser ces fonds pour poursuivre ses recherches sur la transmission d'énergie sans fil.
Muni de ces fonds, Tesla installe un laboratoire à Colorado Springs où il travaille de mai 1899 à janvier 1900. Cette situation géographique lui paraît idéale car très à l'écart à cette époque des perturbations électriques omniprésentes à New-York. Comme il projetait de multiplier par 10 les tensions utilisées à New-York, il avait besoin d'un lieu isolé et discret. De plus, la présence proche de hautes montagnes (pic Pikes) lui permet des tests de conductivité à haute altitude et cette région est fréquemment parcourue par des orages et tempêtes, sources de puissantes perturbations électriques et électromagnétiques dont il peut étudier les effets[Ca 4]. Enfin, il réussit à négocier une alimentation en courant, gratuite pendant la nuit, en triphasé à 550 V[Cv 1].
Ondes stationnaires
    
Pendant que son installation est en cours de construction, Tesla commence, fin juin 1899, des expériences sur la détection des courants telluriques et sur le potentiel électrique de la Terre. Il construit un détecteur sensible constitué d'un cohéreur, alimenté par un transformateur dont l'enroulement primaire est profondément implanté dans le sol. Muni de cet instrument, Tesla découvre que - selon ses termes - « la Terre est littéralement vivante, parcourue de vibrations électriques »[TEE 1], et il s'absorbe profondément dans leur étude. Cette découverte est heureuse, car cela signifie, selon l'analogie du ballon, que celui-ci est en effet rempli de fluide, et le système de Tesla ne peut fonctionner que s'il existe un fluide à animer par résonance[Ca 4].
En étudiant l'effet d'orages et de la foudre, à l'aide de ce détecteur, il s'aperçoit que son détecteur est plus influencé par des orages lointains que par des orages proches. Comment cela peut-il être possible ? L'étude d'un puissant orage avec de très nombreux éclairs, le , confirme le phénomène et produit des observations complémentaires : alors que l'orage se déplace rapidement, et à vitesse constante, Tesla observe une montée et descente périodique du potentiel électrique de la Terre, toutes les demi-heures. Tesla en tire la conclusion qu'il observe des ondes stationnaires et que la Terre, malgré ses dimensions, se comporte comme un conducteur de taille limitée ce qui permet aux ondes de se réfléchir et de créer des ondes stationnaires. De plus, les ondes stationnaires ne peuvent pas se former s'il y a amortissement des ondes : la Terre se comporte donc - selon son interprétation - comme un excellent conducteur et lui donne la conviction qu'il sera en mesure d'atteindre les plus grandes portées[Ca 4].
Le Magnifying Transmitter
    

La station est un prototype d'un dispositif dénommé par Tesla « Magnifying Transmitter » (émetteur amplificateur), qu'il projette d'installer dans la tour de Wardenclyffe, dont Tesla conçoit déjà les plans à cette époque. Il s'agit pour l'essentiel d'une gigantesque bobine Tesla, mais conçue pour pouvoir relativement facilement changer certains paramètres comme sa capacitance (en élevant la boule au sommet du mât), ainsi que la tension ou la fréquence du courant généré[7].
L'engin est contenu dans une enceinte circulaire en bois de 15 m de diamètre et 1,8 m de haut. Le long de cette enceinte, deux enroulements d'un gros conducteur forment la bobine primaire de la bobine Tesla. Au centre de l'enceinte se trouve la bobine secondaire, constituée de 100 enroulements d'un conducteur plus fin. Cette bobine est reliée au sommet à la boule de cuivre et à la terre à l'autre extrémité. Un troisième enroulement (le "magnifier") pouvait être ajouté au dispositif. Cette bobine Tesla, la plus grande jamais fabriquée à l'époque, permet d'élever la tension du courant provenant du réseau de distribution de Colorado Springs, stocké dans d'énormes condensateurs de puissance, jusqu'à 50 millions de volts[Ca 5],[Ca 6].
Transmission d'énergie
    

Fin juillet 1899 Tesla commence à tester la conduction du courant via le sol, en reliant la bobine secondaire du transmitter au sol. Il note des étincelles sur les paratonnerres de l'installation, branchés sur une autre masse que le transmitter, à chaque fois qu'il décharge celui-ci. Plus tard, il détecte des étincelles de 2,5 cm à 75 m du laboratoire, et de 1 cm à 120 m. Le il emmène un récepteur près d'un lac à 1 600 m du laboratoire où il mesure des perturbations et détermine que les ondes stationnaires générées par le transmitter ont une longueur d'onde de 1 200 m[Ca 7].
A la mi-décembre 1899 Tesla arrive à allumer des ampoules à distance lors de deux expériences : il alimente trois ampoules reliées à un conducteur placé sur le sol, disposé en un carré de 19 m de côté. Les ampoules sont à 18 m du laboratoire. Il place également une ampoule au centre d'une grande bobine (voir illustration ci-contre) mais ne donne pas d'indication de distance[Ca 7].
Ces expériences sont les seules pour lesquelles Tesla a documenté la distance atteinte sans fil. Pour de nombreuses expériences, il néglige de noter les distances et c'est lui seul qui effectue les mesures distantes, laissant son assistant manipuler le transmitter au laboratoire. Il n'existe donc ni preuve ni témoin que Tesla a pu atteindre des distances supérieures à 1 600 m pour les signaux et 18 m pour la puissance[Ca 7].
Tesla a extrapolé, par des calculs, qu'il pourrait allumer des centaines de lampes à de plus grandes distances avec un transmitter à pleine puissance théorique et en ajustant la capacitance de la bobine réceptrice, les premiers essais de variation de capacitance ayant été concluants[Ca 8]. C'est sur ce calcul que repose la légende, souvent reprise, que Tesla aurait illuminé un champ d'ampoules à plusieurs kilomètres de distance mais il n'existe ni note, ni témoignage, ni même d'affirmation de Tesla lui-même, que cela a réellement été effectué et testé[Ca 9].
Multiplexage des communications
    

Tesla est conscient que, pour que son système de distribution sans fil soit accepté industriellement, il faut trouver un moyen d’installer des canaux de communications privés et adressables, pour les télécommunications bien entendu, mais aussi pour la distribution d'énergie, dans un système qui est fondamentalement en diffusion mondiale et pourrait être en théorie utilisé de n'importe où par quiconque possède un récepteur. Cette dernière propriété est souhaitable pour la diffusion de programmes radiophoniques par exemple, mais les télécommunications nécessitent des canaux de communication. Il se met donc à rechercher une technique pour créer des canaux « secrets, immunes et sélectifs »[Ca 10]. De plus, cela aurait été un avantage par rapport au système de Marconi, qui - à cette époque - était aisément brouillable, avec des communications aisément interceptées.
Inspiré par Herbert Spencer, qui décrit dans ses Principes de Psychologie comment les cellules nerveuses répondent à de multiples stimuli simultanés, Tesla a l'idée d'émettre non pas sur une seule fréquence fondamentale, mais sur plusieurs simultanément, et/ou même successivement, pouvant générer ainsi autant de "signatures" différentes à chaque signal, réalisant autant de canaux différents que nécessaire. Le récepteur devrait connaitre à l'avance ces caractéristiques pour être en mesure de percevoir le signal. Il y arrive en mettant en œuvre deux bobines tertiaires (voir illustration ci-contre), chacune émettant sur une fréquence différente. Le récepteur, pour sa part, est pourvu d'un système symétrique qui ne restitue le signal que s'il reçoit les deux fréquences[Ca 10]. Leland Anderson estime que Tesla invente à l'occasion la première porte ET, largement utilisée ensuite en informatique[Ca 11].
Construction
    

Aux environs de 1898, Tesla commence les plans pour la tour de Wardenclyffe.
Le nom de Wardenclyffe provient de James S. Warden, un avocat et banquier ayant acquis des terres pour l'entreprise à Shoreham (New York), à environ soixante miles de Manhattan (environ 100 km). Il y a fondé une communauté connue sous le nom de Wardenclyffe-On-Sound. Warden croyait qu'avec l'implantation du « système mondial » de Tesla, une « cité radio » émergerait à cet endroit. Il a ainsi loué à Tesla 200 acres situés près d'un chemin de fer afin qu'il puisse y construire sa tour et ses laboratoires.
La construction débute en 1901. L'architecte Stanford White conçoit l'édifice principal, alors que la tour est conçue par l'un de ses associés, W. D. Crow. Au départ, le projet est financé par J. P. Morgan, qui y investit 150 000 USD[8]. D'autres fonds sont fournis par des industriels influents ainsi que par d'autres investisseurs en capital risque.
En , Tesla déménage son laboratoire de Houston Street (Manhattan) à Wardenclyffe. Cependant, en 1903, alors que la structure de la tour est presque achevée, les installations ne sont toujours pas opérationnelles. Le projet subit des dépassements de coûts et les investisseurs sont réticents à fournir des fonds supplémentaires. En , ils refusent d'accorder un financement supplémentaire. En , les brevets de Tesla sur les moteurs à courant alternatif ainsi que sur d'autres méthodes de transmission d'énergie expirent, ce qui diminue grandement ses redevances et, conséquemment, les fonds investis pour la tour.

En 1905, Tesla ne trouvant pas d'autres investisseurs, la plupart des activités du site sont arrêtées. En 1906, les employés sont renvoyés. Une partie du bâtiment demeure utilisée jusqu'en 1907. En 1908, le bâtiment est fermé pour une première fois. Tesla obtient une nouvelle hypothèque par George Boldt (en), propriétaire du Waldorf-Astoria.
Les installations sont en partie abandonnées aux environs de 1911 et commencent à se détériorer. Entre 1912 et 1915, Tesla éprouve des ennuis financiers et lorsque les investisseurs veulent savoir comment ils vont récupérer leur investissement, il n'a aucune réponse satisfaisante à leur donner. Les journaux en parlent comme de « La folie à un million de dollar de Tesla »[trad 1]. C'est à la même époque que le bâtiment principal est fissuré et vandalisé.
Principes de fonctionnement prévus de l'installation
    
Au retour de Colorado Springs, en janvier 1900, Tesla estime avoir suffisamment d'éléments pour entreprendre la construction de l'installation qui mettra réellement en œuvre son système mondial de distribution d'énergie et d'information : pour cela il faut mettre en œuvre une énergie suffisante et surtout il faut réellement mettre en résonance le champ électrique de la Terre entière, et accorder une attention particulière à la "prise de terre". Tel est l'objectif de la tour Wardenclyffe.
Transmission de l'énergie par la Terre
    

Tesla estime que les courants électriques se comportent comme un fluide incompressible et que la Terre est parcourue par de tels courants, produits par le champ magnétique terrestre (les courants telluriques). Prenant l'analogie d'un ballon rempli d'eau (un fluide incompressible), il calcule qu'une action minime de pompage de ce fluide, qui extrait et réinjecte périodiquement du fluide à un point de la sphère, au rythme de la fréquence de résonance de la sphère, produit des effets importants et égaux en tout point de la sphère (ventres des ondes stationnaires). En effet, la dilatation et la contraction du fluide sont dans ce cas simultanées, égales et importantes en tout point de la sphère, quelle que soit sa taille, et sans atténuation ni perte d'énergie[Ca 2]. C'est cette propriété qui rendra Tesla si confiant dans la capacité à communiquer avec le monde entier, plus facilement qu'avec les ondes hertziennes.
Tesla possède toutes les technologies nécessaires (qu'il a lui-même inventées) pour créer - en théorie - une "pompe" et les récepteurs d'énergie. La "pompe" n'a pas besoin de stocker et d'injecter énormément d'énergie : Tesla compte sur la résonance pour organiser et exploiter tout le potentiel des courants telluriques naturels. Les propriétés de cette "pompe" doivent être de stocker et générer un maximum de courant électrique, avec un minimum de pertes par dégagement d'ondes hertziennes, ce qui nécessite une inductance maximale et une capacité électrique minimale du circuit producteur d'énergie[Ca 2]. La pompe doit également éviter de perdre de l'énergie par l'émission d'arcs électriques, abondants lorsqu'il s'agit de haute tension. Enfin, elle devra permettre d'établir un circuit de retour en destination des récepteurs d'énergie, ce qui nécessite des courants de tension et de fréquence très élevées.
La tour de Wardenclyffe sera destinée à être une telle "pompe".
Fonctionnement de l'installation
    
Tesla n'a jamais laissé de description complète du fonctionnement de l'installation, mais les divers éléments retrouvés permettent d'estimer que le fonctionnement global est le même que celui de l'installation de Colorado Springs et du brevet de 1897[Ca 12].
Mise en vibration stationnaire des courants électriques terrestres
    

Le rôle de l'émetteur d'énergie - la tour - est d'établir, en régime permanent, une onde stationnaire de courant électrique à travers la Terre entière. Selon Tesla, le courant électrique généré par la tour se réfléchit sur le point aux antipodes de la tour et cette réflexion est responsable du caractère stationnaire de l'onde. Selon Tesla, les nœuds et ventres de l'onde forment des disques fixes, concentriques et perpendiculaires à l'axe reliant la tour à son point de réflexion aux antipodes, et forment donc des parallèles le long du globe terrestre.
Tesla calcule que le temps aller-retour de l'onde du courant électrique est de 0,08484 seconde, ce qui correspond à une vitesse de propagation constante à la vitesse de la lumière sur l'axe tour/point de réflexion, mais à une vitesse moyenne de l'onde de 471 240 km/s à la surface de la Terre, plus vite que la vitesse de la lumière[Br2 1]. En effet, pour que le front d'onde soit toujours des disques perpendiculaires, il est nécessaire qu'il se propage plus vite à la surface que sur l'axe : selon Tesla, la propagation de l'onde à travers la Terre est semblable au passage de l'ombre de la Lune sur la Terre lors d'une éclipse solaire : l'ombre se déplace dans l'espace à vitesse constante, mais la vitesse à la surface de la Terre de l'ombre est infinie au point où l'ombre atteint la Terre, est minimale à l'équateur, et réaccélère pour redevenir infinie au point opposé (voir figure ci-contre)[FSI 1].
Pour que l'onde stationnaire s'établisse, il faut donc que la tour émette un courant alternatif pendant un temps supérieur à 0,08484 seconde, de manière que l'onde ait le temps d'interférer avec elle-même[Br2 1]. Le courant alternatif de N hertz est réalisé en "pompant" et en réinjectant N fois par seconde les électrons de la Terre. Ces électrons sont stockés dans la coupole capacitive. La fréquence du courant doit être « la plus basse possible » pour limiter l'émission d'ondes hertziennes[Br2 2]. La tour était conçue pour opérer entre 1 000 Hz et 200 000 Hz[Ca 12] et Tesla calcule que la fréquence optimale, étant donné la capacité de la coupole, et pour avoir également suffisamment de nœuds et ventres pour la géolocalisation, est autour de 25 000 Hz.
Il est nécessaire également pour l'établissement de l'onde stationnaire que la fréquence soit finement ajustée pour qu'il existe un nombre entier et impair de quarts de longueur d'onde dans le diamètre de la Terre[Br2 3]. De cette manière, l'onde stationnaire est dans un mode de résonance qui permet d'amplifier fortement son amplitude[9].
Les récepteurs d'énergie
    

Initialement, comme le montrent les premiers brevets, Tesla imaginait des récepteurs d'énergie symétriques en structure et en taille à l'émetteur, ce qui aurait impliqué d'autres tours de type Wardenclyffe pour recevoir l'énergie. Mais à un moment, pendant la construction de la tour, Tesla a décidé que cela n'était pas nécessaire et que les messages, et même l'énergie, pouvaient être reçus par des récepteurs beaucoup plus petits[Ca 12], mais pouvant uniquement recevoir des messages, de la géolocalisation ou de la synchronisation d'horloge, ou de petites quantités d'énergie[TEE 2].

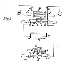
Quand il s'agit de signaux ou de petites quantités d'énergie, le récepteur peut ressembler à celui décrit dans le brevet déposé en 1900[Br2 4], très différent de l'émetteur. Ce dispositif consiste en deux plaques P et P' , soit toutes deux enfoncées dans le sol à bonne distance, soit une dans le sol et l'autre en hauteur. Ces plaques sont reliées à un oscillateur consistant en un cylindre rotatif (D) synchronisé à la même fréquence que l'émetteur, relié à un détecteur (R) par un condensateur (H). Tesla imagine, avec ce détecteur, un certain nombre d'applications, notamment de compas de navigation en jouant sur les deux plaques distantes. En effet, la réception est maximale quand les plaques P et P' sont alignées sur un méridien dont l'émetteur est un pôle, et nulle quand elles sont alignées perpendiculairement à ce méridien[Br2 5].
Architecture technique de l'installation
    
L'installation comprend un bâtiment principal, destiné à contrôler et produire de l'énergie et d'assurer la maintenance de la tour et la tour elle-même qui doit jouer son rôle de magnifying transmitter, composée d'un réservoir d'énergie (la coupole), d'une gigantesque bobine Tesla et d'une importante infrastructure souterraine pour la prise à la terre.
L'installation était prévue pour atteindre une énergie de 10 mégawatts de puissance transmise, avec une tension maximale égale à 30 millions de volts[Cv 3].
La tour
    

La tour est construite sur les principes du brevet déposé en 1902, décrivant son architecture technique. La tour réellement construite diffère en un certain nombre de points techniques, mais le principe de fonctionnement reste celui décrit par le brevet[Ca 13].
La tour est conçue autour de deux paramètres principaux : la quantité d'énergie que peut contenir l'électrode haute de la tour (la coupole, ou le tore dans le brevet), et la longueur des ondes que la tour doit émettre dans le sol. Tesla avait appris à Colorado Springs que la longueur de l'enroulement secondaire devait être un quart de la longueur des ondes émises par le magnifying transmitter (on appelle aujourd'hui ce mode d'excitation une quasi-antenne monopôle quart d'onde). La longueur d'onde idéale calculée par Tesla était de 730 m (2 400 pieds) ce qui implique une hauteur de l'enroulement secondaire de 183 m et une hauteur de la tour au moins égale. Tesla reçoit en 1901 un devis exorbitant (450 000 $) pour la construction d'une telle tour. Il est contraint de se rabattre sur une tour plus petite (57 m), quitte à en construire plusieurs, J.P. Morgan ne voulant plus financer un cent de plus cette installation[Ca 13].
La coupole
    
Ainsi, pour rendre cette petite tour plus efficace et en diminuer le coût, il décide de transformer le tore initialement prévu en coupole de 20,7 m de rayon, destinée à être recouverte entièrement de plaques de cuivre (mais elle ne l'a jamais été[Desc 1]), elle-même recouverte de plus petits hémisphères en cuivre (comme pour le tore du brevet, lettre P) pour empêcher la production d'arcs électriques et accroître encore davantage sa capacitance. Selon Tesla, la capacité d'un tel dôme serait équivalente à celle d'une tour telle qu'initialement prévue qui serait cent fois plus grande, grâce à une forme de la coupole spécialement étudiée[Desc 2].
Cette vaste coupole dont la structure est constituée de poutrelles d'acier recourbées, pèse 55 tonnes, et a une grande prise au vent : la structure de la tour doit être conçue pour supporter ce poids, et supporter les vents forts de cette région, ce qui est un défi pour l'architecte Stanford White. Comme la coupole doit absolument être isolée du sol, White ne peut utiliser le fer ou l'acier pour la structure de la tour. Il conçoit une tour en treillis octogonale à large assise, de forme pyramidale, dont les poutres de bois sont tenues ensemble par des plaques d'acier[Ca 13].
Partie souterraine
    
Mais la tour n'est que la partie émergée de l'iceberg. Une composante essentielle de la tour est la "prise de terre", qui doit être la plus efficace possible pour réellement agir sur les courants telluriques. Plus de la moitié du budget total de 150 000 $ a été utilisé pour construire les infrastructures souterraines de la tour[Cv 4],[Desc 3]. Tesla veut atteindre une nappe phréatique pour l'utiliser comme électrode géante en prise avec la terre[Ca 13]. Pour cela, il construit un puits, centré sur la tour, de 4 m de diamètre et de 30 m de profondeur, le long duquel court un escalier en spirale. Quatre autres tunnels plus petits sont creusés de la surface jusqu'à la nappe, vraisemblablement pour évacuer la vapeur que les forts courants auraient généré, avec une dissipation thermique évaluée à 1 mégawatt, sur les 10 transmis par la tour[Cv 5].
Au centre du puits descend un fût en acier destiné à transporter le courant, relié au bobinage secondaire du magnifying transmitter en haut (lettre E du schéma du brevet), et en bas à seize tuyaux horizontaux en fer de 90 m de long, courant dans la nappe phréatique[Ca 13],[Desc 4]. Selon Tesla, ce fût est conçu de telle manière qu'il peut déterminer précisément les nœuds des ondes stationnaires émises par la tour, ce qui permet de mettre en œuvre les capacités de géolocalisation de la tour et de permettre entre autres de déterminer le diamètre de la Terre à 1 m près[Ca 13],[Desc 5].
Le Transmitter
    
Le magnifying transmitter aurait été installé à la base de la tour. Le diamètre de la bobine primaire (lettre C sur le brevet) et secondaire (lettre A) est inférieur à ceux de Colorado Springs, mais la bobine supplémentaire verticale (lettre B) est bien plus longue. La bobine supplémentaire est connectée au dôme du sommet de la tour par un fût en acier (lettre B' ) du même type que celui qui descend dans le puits, et à la bobine secondaire en bas. L'alimentation en énergie (lettre G) est connectée à la bobine primaire et provient du bâtiment par un tunnel creusé entre la tour et le bâtiment, éloigné d'une soixantaine de mètres[Ca 13].
Cette description est fondée uniquement sur le brevet car il n'existe pas de photographies ou d'autres documents décrivant le magnifying transmitter réel de Wardenclyffe[Ca 14], ni même d'indication que le transmitter a jamais été construit, ce qui semble peu probable étant donné le manque de fonds pour achever la tour, le fait que celle-ci n'a jamais été fermée aux intempéries[Desc 6], et que selon Tesla "aucun accessoire n'a jamais été placé dans la tour"[Desc 1].
Applications prévues du système
    

Tesla, dans son autobiographie, prévoyait les applications suivantes pour le système[Se 1] :
- Interconnexion des agences de télégraphe à travers le monde.
- Établissement d'un réseau de communication gouvernemental secret et non-interférable (sic)
- Interconnexion des agences de téléphone à travers le monde.
- Distribution universelle de dépêches d'information par télégraphe ou téléphone, en plus de la presse.
- Établissement d'un « Système Mondial (World System) » de transmission privée d'informations.
- Interconnexion des places de cotation boursière à travers le monde.
- Établissement d'un « Système Mondial » de distribution de musique.
- Synchronisation universelle des horloges avec une précision astronomique.
- Transmission de textes imprimés ou écrits à la main.
- Établissement d'un service universel maritime, permettant aux navigateurs des navires de s'orienter précisément sans boussole, déterminer leur position et leur vitesse exacte, prévenir les collisions, etc.
- Inauguration d'un système d'impression mondial.
- Reproduction de photographies et de dessins à l'échelle mondiale.
Dans ces applications, on reconnait des systèmes similaires, dans leur principe, au télécopieur, à la géolocalisation, la synchronisation d'horloges et à la radiodiffusion (qui n'existait pas encore à l'époque) d'informations et de musique.
La tour aurait-elle pu fonctionner ?
    
La crédibilité technique et physique du principe de fonctionnement de la tour, tel qu'imaginé par Tesla, dépend d'un certain nombre de facteurs.
Conduction par ondes longitudinales
    
Un facteur déterminant est la réaction réelle du "conducteur Terre" à l'injection de courant électrique. Le principe de Tesla exige que les ondes électriques se propagent dans un milieu similaire à un fluide incompressible (par exemple comme le ballon rempli d'eau dans l'analogie de Tesla), de manière à créer des ondes longitudinales de conduction électrique, susceptible de créer des ondes stationnaires.
Or, il s'avère que la Terre se comporte plutôt d'un point de vue électrique comme si elle était remplie d'un fluide compressible, donnant lieu à des ondes transversales qui finissent par se dissiper et s'amortir rendant impossible l'établissement d'un régime stationnaire et résonnant[Ca 15].
La seule possibilité pour que les ondes ne se dissipent pas est qu'elles se propagent selon un régime non maxwellien connu sous le nom de "ondes scalaires". Mais ce régime, hautement hypothétique, n'a jamais été mis en évidence expérimentalement et n'est pas compatible avec les équations et principes de la physique d'aujourd'hui, par exemple en impliquant des vitesses supraluminiques[Ca 15].
Circuit de retour
    
Tesla n'a jamais précisément spécifié comment le circuit de retour allait se faire entre le récepteur et la tour, surtout pour la transmission de quantités industrielles d'énergie[Ca 12]. La tour de Wardenclyffe n'était pas suffisamment haute pour atteindre les couches d'air raréfié, et encore moins les couches d'air ionisé (donc conductrices) de la ionosphère (dont Tesla ignorait de toute manière l'existence).
Des spéculateurs supposent, sur la base de l'existence d'un trou d'un mètre de diamètre au sommet de la coupole, que Tesla aurait créé un couloir vertical d'air ionisé jusqu'aux couches raréfiées de l'atmosphère, voire jusqu'à la ionosphère, en pointant un faisceau de rayon X ou ultraviolet collimaté vers le ciel[Ca 12],[10]. D'autres supposent que la coupole aurait contenu une telle quantité d'énergie que l'air s'ioniserait spontanément au-dessus de la coupole, conduisant à une induction électrostatique jusqu'à la haute atmosphère[11].
Notes et références
    
- (en) « Tesla's million-dollar folly. »
- (en) Leland I. Anderson, Nikola Tesla On His Work with Alternating Currents and Their Application to wireless Telegraphy, Telephony, and Transmission of Power, 21st Century Books, , p. 106, 153, 170
- (en) Nikola Tesla, « The Future of the Wireless Art », Wireless Telegraphy & Telephony, , p. 67-71 (lire en ligne)
- (en) Margaret Cheney, Tesla Master of Lightning, New York, Barnes & Noble Books, , 107 p. (ISBN 0-7607-1005-8)
- New York Journal, 30 avril 1899, "Tesla says..."
- « Tesla Cosmic Ray Motor may transmit Power 'round Earth » "Cited Two Principles"
- Marconi Wireless Tel. Co. v. United States 320 U.S. 1 (1943)
- Le mât est très court par rapport aux longueurs d'onde mises en jeu par le transmitter, et ne génère donc pas d'ondes électromagnétiques et n'est pas une antenne dans le sens habituel du terme[Cv 2]
- (en) William J. Broad, « A Battle to Preserve a Visionary’s Bold Failure », The New York Times,
- « Cours de physique, collège Maisonneuve, p. 10 Résonance »
- Adam Bellows, « Tesla's Tower of Power », sur damninteresting.com
- Gary Peterson, « How does Tesla's tower work? », sur www.teslainfo.org
Voir aussi
    
    Articles connexes
    
Sources secondaires
    
- (en) Bernard Carlson, Tesla : Inventor of electrical age, Princeton University Press, (lire en ligne) :
- Chapitre 12. Becoming unstuck : solving the puzzle of the return circuit
- Chapitre 11. From wireless lighting to resonant power
- Chapitre 12. Courting John Jacob Astor IV
- Chapitre 13 Taking the Earth's pulse
- Chapitre 13 Running the Magnifying Transmitter
- Chapitre 13 Relocating to Colorado Springs
- Chapitre 13 Tests and Witnesses
- Chapitre 13 Photographing power
- Chapitre 13, Note 82
- Chapitre 13 Tuning for Secrecy, Immunity and Selectivity
- Chapitre 13, Note 63
- Chapitre 14 How did Tesla think Wardenclyffe would operate ?
- Chapitre 14 The Laboratory at Wardenclyffe
- Chapitre 14, note 69
- Chap 15. Is the Earth like a water baloon or an ocean ?
- (en) Dr Jovan Cvetić, School of Electrical Engineering University of Belgrade, Serbia, « Tesla’s High Voltage and High Frequency Generators with Oscillatory Circuits » [PDF]
- Page 309
- p. 315
- p. 320
- p. 323
- p. 324
- (en) Robert Uth, Tesla : Master of Lightning, Barnes & Noble Publishing, :
- p. 68
- (en) A. Waser, « Nikola Tesla's Wireless System » [PDF]
- (en) Anand Kumar Sethi, The European Edisons : Volta, Tesla, and Tigerstedt, Palgrave McMillan, :
- p. 67
Sources primaires
    
- (en) Nikola Tesla, « On Light and other High Frequency Phenomena »,
- "On electrical resonance" : « I cannot stretch my imagination so far, but I do firmly believe that it is practicable to disturb by means of powerful machines the electrostatic condition of the earth and thus transmit intelligible signals and perhaps power. » [...] « We now know that electric vibration may be transmitted through a single conductor. Why then not try to avail ourselves of the earth for this purpose? »
- (en) Nikola Tesla, « Patent US 645,576 System of Transmission of Electrical Energy »,
- Le brevet évoque neuf possibilités de mettre en œuvre le système, la plupart par transmission d'énergie en haute atmosphère. La transmission par la terre est évoquée dans la première.
- Ce brevet.
- (en) Nikola Tesla, « Colorado Springs Notes », 1899-1900
- (en) Nikola Tesla, « The Problem of Increasing Human Energy », Century Illustrated Magazine, (lire en ligne)
- (en) Nikola Tesla, « Patent US 787,412 - Art of Transmitting Electrical Energy through Natural Medium »,
- "Third" requirement
- "Second" requirement
- "First" requirement
- « In Fig. 2 I have shown a device for detecting the presence of the waves such as I have used in a novel method of magnifying feeble effects »
- « Evidently the course of a vessel may be easily determined without the use of a compass, as by a circuit connected to the earth at two points, for the effect exerted upon the circuit will be greatest when the plates P P' are lying on a meridian passing through ground-plate E' and will be nil when the plates are located at a parallel circle »
- (en) Nikola Tesla, « Patent US 1,119,732 - Apparatus for Transmitting Electrical Energy »,
- (en) Nikola Tesla, « The Transmission of Electrical Energy without Wires », Electrical World and Engineer, (lire en ligne)
- « The earth was found to be, literally, alive with electrical vibrations »
- « This energy will be collected all over the globe preferably in small amounts, ranging from a fraction of one to a few horse-power. One its chief uses will be the illumination of isolated homes. »
- (en) Nikola Tesla, « Famous Scientific Illusions », Electrical Experimenter, (lire en ligne)
- Voir figure 8
- (en) Nikola Tesla, « Tesla's description of Long Island plant and inventory of the installation »,
- Paragraphe 527
- Paragraphe 524
- Paragraphe 529
- Paragraphe 531
- Paragraphe 530
- Paragraphe 526
Dans la culture populaire
    
Dans l'épisode intitulé "La Nuit de terreur de Nikola Tesla" (Nikola Tesla's Night of Terror) de la série télévisée Docteur Who, on peut y voir Nikola Tesla et la Tour de Wardenclyffe en action
Liens externes
    
- (en)PBS Tower of Dreams
- (en)Centre des sciences Tesla à Wardenclyffe
- [vidéo] Reconstitution 3D du bâtiment sur YouTube
- Ressources relatives à l'architecture :
- Portail du Registre national des lieux historiques
- Portail de l’électricité et de l’électronique
- Portail de l’architecture et de l’urbanisme
- Portail de l’énergie
- Portail des télécommunications
- Portail de l’État de New York





