Critère de Griffith
Le critère de Griffith (d'après Alan Arnold Griffith) désigne une contrainte maximale au-delà de laquelle un matériau fragile se rompt. La valeur de cette contrainte seuil s'exprime en fonction du module d'élasticité du matériau et de l'énergie nécessaire pour ouvrir la fracture.
Matériaux fragiles
    
Les matériaux fragiles, comme le verre, rompent brutalement lorsqu'on exerce sur eux une contrainte en traction qui excède une certaine contrainte seuil. Cette contrainte seuil est très petite par rapport au module d'élasticité du matériau. Autrement dit, une très faible déformation suffit pour le rompre.
Par exemple, pour du verre, le module d'élasticité est typiquement de 7 × 1010 Pa (module de Young, 70 GPa) tandis qu'une contrainte de seulement 3,6 × 109 Pa (3,6 GPa = 3 600 MPa, qui correspond à environ 5 % de déformation) peut suffire pour rompre le matériau.
Microfractures
    
Pour expliquer cette fragilité importante, Griffith a eu l'idée de supposer l'existence de microfractures au sein du matériau.
La raison pour laquelle la présence de microfractures fragilise le matériau est la suivante. Lorsqu'une contrainte est appliquée sur le matériau, il se déforme et stocke de l'énergie élastique. Une fracture existante, si elle s'ouvre davantage, soulage davantage le matériau sous tension et libère ainsi de l'énergie pour faire avancer le front d'ouverture. Au-delà d'une certaine contrainte, l'énergie ainsi libérée est suffisante, et la fracture commence à s'ouvrir davantage. Après quoi, son ouverture se poursuit de manière catastrophique, jusqu'à la rupture macroscopique du matériau.
La contrainte seuil résulte donc d'un bilan entre l'énergie élastique soulagée et l'énergie interfaciale de la fracture. C'est pourquoi l'expression de la contrainte seuil obtenue par Griffith dépend à la fois du module d'élasticité du matériau et de l'énergie interfaciale.
Calcul de la contrainte seuil
    
Une version très simplifiée de son calcul est donnée ici.
Énergie stockée et énergie soulagée
    

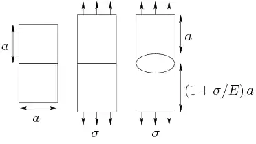
Sous l'effet d'une contrainte dans un solide en régime élastique, la déformation du matériau est de l'ordre de , où est son module d'élasticité. Autrement dit, une région de taille (à gauche sur la figure) est étirée jusqu'à une taille (au centre de la figure). L'énergie élastique stockée par unité de volume dans une telle région est de l'ordre de .
En présence d'une fracture de taille (à droite sur la figure), une partie appréciable de la contrainte (et donc de l'énergie élastique) est soulagée dans une région d'épaisseur de part et d'autre de la fracture (plus précisément, la contrainte est reportée latéralement et se concentre au voisinage de la périphérie de la fracture).
Par conséquent, l'ordre de grandeur de l'énergie élastique soulagée est donné par l'énergie qui était stockée dans la configuration non soulagée (au centre), autrement dit par le produit du volume et de la densité d'énergie :
Bilan d'énergie et évolution d'une fracture
    
Hormis le soulagement partiel de l'énergie élastique stockée, l'ouverture de la fracture consomme une énergie par unité de surface.
Le bilan énergétique de l'ouverture de la fracture dépend donc de sa dimension contient donc les deux contributions :
Contrainte seuil
    
Le signe de la variation de avec indique que la fracture tend à augmenter lorsque sa taille excède une valeur de l'ordre de :
Corrélativement, si le matériau contient dès l'origine des microfractures de taille , alors ces microfractures s'élargissent dès que la contrainte appliquée excède une contrainte seuil, dont l'ordre de grandeur est donné par :
Voir aussi
    
    Articles connexes
    
- Portail de la physique
- Portail du génie mécanique
- Portail des sciences des matériaux


