Actionneur de plasma
Un actionneur de plasma ou actionneur plasma est un type d'actionneur formé d'un système ou appareillage constitué de deux électrodes non superposées (« électrodes asymétriques ») et séparées par un film isolant.
L'application d'une radiofréquence de haute tension aux électrodes génère un plasma faiblement ionisé et de faible température. Si le système n'est pas dans le vide, les charges se déplacent dans le champ électrique et induisent un flux des molécules du fluide ambiant (air par exemple)[1].
Cette force générée dans le fluide peut être utilisé pour des applications de contrôle de flux, mais avec l'inconvénient de nécessiter un fort champ électrique et de la haute tension et générer des interférences électromagnétiques. Contrairement à la génération d'un jet de paroi, un actionneur de plasma appliqué dans une couche limite en accélère l'écoulement, ce qui modifie le profil de vitesse de cette couche limite.
On peut dire qu'un actionneur plasma peut en un temps bref convertir de l'électricité en quantité de mouvement d'un fluide sans besoin d'aucune pièce mécanique ni en générant une importante chaleur. Comparés à d'autres techniques de contrôle de l’écoulement, ces actionneurs électriques dépourvus de pièces mobiles ont un temps de réponse rapide et sont simples, robustes et faciles à intégrer, sans ou presque, eux-mêmes perturber l'écoulement quand ils ne sont pas activés, ce qui les rend idéaux pour les applications aérodynamiques. Ce type d'actionneur est actuellement développé pour le contrôle de flux, principalement dans le domaine de l'aérodynamique (contrôle des flux). La physique des plasmas est utilisée, comme pour la lévitation induite avec l'ionocraft.

Histoire
la première introduction d'actionneurs de plasma date de 1996. Depuis cette date l'intérêt de contrôler et d'influencer les écoulements de fluides avec des plasmas faiblement ionisés augmente de façon continue.
De nombreuses expérimentations ont consisté à tester diverses applications potentielles, et éventuellement polyvalentes, d'actionneurs de plasma. Certaines de ces expériences ont montré l'applicabilité des actionneurs de plasma pour contrôler la séparation de la couche limite d'une part et pour la contrôler d'autre part.
L'invention récente d'actionneurs de plasma à décharge luminescente, par Roth en 2003 [2] a notamment attiré l'attention des spécialistes, car ayant des effets significatifs dans l'air et à la pression atmosphérique normale, est associé à une augmentation des performances de contrôle de flux.
Enjeux

Ce sont notamment des enjeux d'économies d'énergie, d'efficience énergétique et d'amélioration de la vitesse ou du contrôle de certains phénomènes sources de nuisances sonores et techniques.
Des actionneurs plasma opérant dans les conditions atmosphériques semblent notamment prometteurs pour améliorer le contrôle de certains flux grâce à leurs propriétés physiques, et en particulier car ils peuvent améliorer la vitesse d'un objet en déplacement, permettre de mieux contrôler ou valoriser des flux d'air ou de gaz ainsi que l'émission de chaleur d'un arc électrique, et surtout pour la simplicité de leurs systèmes constructif et de positionnement sur un objet (ex générateur de vortex) ou sur un véhicule.
Applications
Amélioration de la vitesse et de la portance d'une aile ou d'un foil
Appliqué dans l'atmosphère un actionneur de plasma produit un flux d'air accéléré le long de la paroi (wall jet) pouvant atteindre une vélocité de 7-8 m/s. Éventuellement combiné à une utilisation de l'effet Coandă, il peut être utilisé pour améliorer la portance d'une aile ou d'un foil ou encore le rendement des pales d'une éolienne[3].
Applications de contrôle de débit et de configuration interne ou externe d'un écoulement
On a récemment réussi à contrôler des flux à haute vélocité en positionnant judicieusement des actionneurs de plasma à arc (arc filament plasma actuators)[4]. Ils peuvent aussi être utilisés pour le contrôle de flux de faible vélocité, en utilisant des décharges à barrière diélectrique[5] et des « sliding discharges »[6].
Contrôle de l’écoulement interne dans un système : Dans les tuyaux et conduites industrielles en forme de S, ou dans les entrées d’air ou de gaz non axiales (comme dans un moteur d’avion) ou dans les conduits de transition entre les turbines industrielles ou d'aviation (ITD), et dans bien d'autres systèmes impliquant la circulation rapide ou très rapide d'un fluide, le décollement de la couche limite turbulente est souvent un problème important car il provoque une distorsion des flux en écoulement[7]. Des forces non homogènes sont alors induites dans les systèmes, qui peuvent provoquer des phénomènes de cavitation, de vibration et/ou simplement prématurément dégrader la performance des pièces mécaniques et de l'ensemble du système, tout en diminuant l'efficacité énergétique du système[7].
Maitriser le décollement de la couche limite turbulente pour diminuer certaines chutes de pression permettrait de maitriser les phénomènes de retour de flamme dans le prémélangeur d'une turbine à gaz[8], de produire des compresseurs[9], des systèmes de ventilation ou des avions plus sobres en carburant et moins bruyants. Ceci pourrait être obtenu grâce à des générateurs de vortex et à des flux contrôlés basés sur le principe de la Décharge à barrière diélectrique[7]. La production de microjets synthétiques MMMS suffit à permettre le contrôle de certains écoulements aérodynamiques perturbés[10].
Générateur de vortex
Un actionneur de plasma induit une perturbation de la vitesse d'écoulement local, qui sera développée en aval en turbulences. Des actionneurs de plasma peuvent donc être conçus et positionnés pour générer des turbulences voulues et contrôlables ou de la même manière un vortex, avec comme différence par rapport aux systèmes traditionnels utilisés qu'il n'y a plus aucune pièces en mouvement ni besoin de trous forés sur les surfaces aérodynamiques, ce qui pourrait parfois être un avantage important.

Contrôle actif du bruit
On sait maintenant produire des haut-parleurs d'annulation de bruit qui génèrent une onde sonore de même amplitude mais émise en « inversion de phase » (ou « opposition de phase ») par rapport au son original. Le contrôle actif du bruit par un plasma est également possible selon au moins deux stratégies différentes : la première utilise le fait que la pression acoustique peut être atténuée quand elle est filtrée par une « plasmagaine » (aussi dénommée « feuillet plasmatique »). La seconde déjà et plus largement utilisée vise à contrôler le « champ d'écoulement » (flow-field) qui génère le bruit aéroacoustique [11] (suppression active par des actionneurs de plasma dans ce cas) et le bruit « large bande »[5].
Contrôle du vol ou de direction d'objets volants ou évoluant rapidement dans un gaz (airfoils, etc.)
Des actionneurs de plasma peuvent théoriquement contribuer au contrôle du sillage laissé dans l'atmosphère d'un corps, même non-profilé[12].
Des actionneurs de plasma peuvent ainsi notamment être montés sur des profils ou voilures pour contrôler l'attitude de vol et la trajectoire de vol, avec l'avantage de ne plus avoir à concevoir et entretenir des systèmes de transmission mécaniques et hydrauliques aussi vulnérables que ceux d'un gouvernail classique, mais avec comme inconvénient de nécessiter un générateur haute-tension embarqué, approprié et conforme aux règles en vigueur en matière de sécurité aérienne.
En complément du contrôle de flux, les actionneurs de plasma présentent des potentialités d'alternatives efficaces et robustes aux commandes de vol (dont pour certains drones et pour l'exploration de planètes extraterrestres ; là où les conditions atmosphériques le permettent).
Dans ce cas, toute la stratégie de contrôle du vol pourrait être à renouveler sur la base des caractéristiques des actionneurs de plasma, y compris pour des systèmes anti-roulis aujourd'hui contrôlé par des gyrostabilisateurs.
Un schéma de système préliminaire de contrôle de roulis utilisant des actionneurs de plasma DBD a été imaginé[13] (voir schéma)
On peut voir des actionneurs de plasma déployés des deux côtés d'un plan de sustentation. Le contrôle de roulis peut être contrôlé par l'activation des actionneurs de plasma via un système de boucle de rétroaction réagissant à l'angle de roulis.
Parmi diverses méthodologies de contrôle de rétroaction, c'est ici la méthode de commande « tout ou rien » (aussi dite bang-bang ou on/off) qui a été retenue pour concevoir le système de contrôle de roulis basée sur des actionneurs de plasma. La raison en est que le contrôle « tout ou rien » présente un temps optimal de réponse et est insensible aux effets du plasma, qui varient rapidement en cas de changement de conditions atmosphériques et/ou électriques.
Contrôle de certains éléments aux vitesse supersonique et hypersonique
Un contrôle de flux hypersoniques a été proposé à partir d'actionneurs de plasma[14] car des plasmas peuvent être beaucoup plus facilement généré pour des véhicules hypersoniques à haute altitude à assez faible pression atmosphérique et éventuellement à des températures de surfaces élevées. Peu de techniques alternatives sont classiquement disponibles pour ce type de situation. Le générateur de plasma présente en outre le grand intérêt de ne pas nécessiter de pièces mécaniques. Il est enfin d'un poids léger et permet une fréquence de réponse élevée.
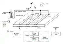
Alimentation et films-électrodes
La source d'alimentation peut être un du courant continu (CC) ou du courant alternatif (CA) ou encore une microdécharge de micro-ondes (pour différentes configurations d'actionneurs de plasma) [15].
Un exemple schématique (ici donné à titre d'exemple) peut être une alimentation en courant alternatif (CA) pour une décharge à barrière diélectrique.
La performance des actionneurs de plasma est d'abord conditionnée par la qualité des matériaux diélectriques et les entrées de puissance. Il est ensuite limitée par les qualités des Transistors à effet de champ à grille métal-oxyde (MOSFET) et des Transistors bipolaires à grille isolée (IGBT) utilisés.

Les formes d'onde d'entraînement peuvent être optimisées pour accélérer la vitesse d'écoulement induite, mais une forme d'onde sinusoïdale semble préférable pour sa simplicité de construction de l'alimentation, en présentant un autre avantage : générer moins d'interférences électromagnétiques.
Un système de modulation de largeur d'impulsion peut être adopté pour ajuster instantanément la « force d'actionnement »[16].



Il a été montré que la manipulation de l'électrode encapsulée et la distribution de l'électrode encapsulé tout au long de la couche diélectrique peut modifier (positivement ou négativement) les performances de la décharge à barrière diélectrique (DBD) actionneur à plasma.
Localiser l'électrode encapsulée plus près de la surface diélectriques de surface permet d'accélérer les vitesses induites (comparativement à une situation de référence pour une tension donnée). En outre, les actionneurs disposant d'une électrode initiale peu profonde donneront plus de dynamisme et de puissance mécanique au flux induit[17]
Dans tous les cas, le maximum de vitesse moyenne induite par des actionneurs de plasma en situation de pression atmosphérique normale, sans mécanisme d'amplification mécanique (chambre, cavité, etc.), ne dépassera jamais 10 m/s[11]
Influence de la température
Si des actionneurs sont utilisés dans des contextes tels que l'aviation ou dans des contextes chauds ou froids, l'effet de la température ambiante devient important. Les variations de température rencontrés lors de la montée en altitude ou d'un vol peuvent avoir des effets néfastes de la performance de l'actionneur, car pour une tension constante de crête-à-crête la vitesse maximale produite par l'actionneur dépend directement de la température de la surface diélectrique. Les résultats suggèrent empiriquement qu'en contrôlant la température de l'actionneur, sa performance peut être maintenue ou améliorée dans certaines conditions environnementales défavorables.
Augmenter la température de la surface diélectrique peut augmenter la performance de l'actionneur de plasma en augmentant le flux de quantité de mouvement mais au prix d'une consommation d'énergie légèrement plus élevée[18].
Études en cours, aspects prospectifs
Des actions de R&D concernant la production d'actionneurs de plasma sont principalement axées sur trois thèmes :
- les designs possibles d'actionneurs de plasma ; par exemple une géométrie serpentine peut être donnée à la forme du générateur de plasma (Serpentine geometry plasma actuator)[19]
- les applications destinées au contrôle de flux et à des alternatives aux outils traditionnels de commandes de vol ;
- le comportement et les effets de ce plasma en situations limite. Ainsi, les caractéristiques de plasmas induits par la décharge d'actionneur à barrière diélectrique exposés à un flux instable généré par un tube à choc ont commencé à faire l'objet d'études.
Une étude montre que non seulement la couche de cisaillement à l'extérieur du tube de choc est affectée par le plasma, mais que le passage de l'onde de choc et le flux à grande vitesse qu'elle laisse derrière elle influencent aussi grandement les propriétés du plasma [20]
- la modélisation. Les applications de ces modèles sont principalement orientées vers le contrôle de flux. De nouvelles méthodes expérimentales et numériques sont en cours de mise au point[21] dont pour fournir des modèles physiques plus performants. Différents modèles numériques ont été proposées pour simuler des « actionnements » de plasma pour le contrôle de flux ; ils sont énumérés ci-dessous, classé en fonction le coût de calcul (du plus cher au moins cher) :
- Méthode de Monte Carlo complétée par la méthode dite particle-in-cell (PIC);
- Modélisation électrique couplée aux équations de Navier-Stokes ;
- Modèle d'éléments localisés couplé aux équations de Navier-Stokes[22] ;
- Modèle de substitution, destinés à simuler l'actionneur de plasma[21],[23].
A modern closed-loop control system and the following information theoretical methods can be applied to the relatively classical aerodynamic sciences. A control-oriented model for plasma actuation in flow control has been proposed for a cavity flow control case.[17]
Le potentiel le plus important des actionneurs de plasma semble provenir de leur capacité à connecter le domaine de l'électricité à celui des fluides. De nouveaux systèmes de contrôle en boucle de rétroactions fermées, et des méthodes théoriques nouvelles peuvent a priori être appliquées aux sciences relativement classiques de l'aérodynamique.
Un nouveau modèle orienté vers l'utilisation de la production d'un plasma pour le contrôle de flux et la réduction du bruit a été proposé en 2008[24]
Voir aussi
Articles connexes
- Physique des plasmas
- Effet Biefeld-Brown
- Gaz
- Électron
- États de la matière
- Torche à plasma
- Lampe à plasma
- Magnétohydrodynamique
- Couche limite
- Moteur ionique
- Accélérateur électrostatique de fluide
- Actionneur de plasma de forme serpentine
- Wingless Electromagnetic Air Vehicle (WEAV)
- Décharge à barrière diélectrique
Liens externes
- Application de l'élécropropultion
- illustration (modélisation), et explications (What are Plasma Actuators) dans un cas d'application à l'avion par la 'Technische Universität Darmstadt'
Bibliographie
- Lemire, S., Vo, H. D., & Benner, M. W. (2010). improvement of axial compressors and fans with plasma actuation. International Journal of Rotating Machinery, 2009 (résumé).
- Milan Jr, P., Demers, F., & Vo, H. D. Modeling of Saw-tooth DBD Plasma Actuators for Flow Control Simulations (résumé).
Notes et références
- James W. Gregory
- Roth J.R (2003) Aerodynamic flow acceleration using paraelectric and peristaltic electrohydrodynamic effects of a one-atmosphere uniform glow discharge plasma (OAUGDP). Physics of Plasmas, 10 (5), 1166–1172.
- Ghosh, S. (2011). Plasma actuation for active control of wind turbine power (Doctoral dissertation, École Polytechnique de Montréal).
- Samimy, M., Kim, J. H., Kastner, J., Adamovich, I., and Utkin, Y. (2007). Active control of high-speed and high-Reynolds-number jets using plasma actuators. Journal of Fluid Mechanics, 578, 305–330.
- Huang, X., Zhang, X., and Li, Y. (2010) Broadband Flow-Induced Sound Control using Plasma Actuators, Journal of Sound and Vibration, Vol 329, No 13, p. 2477–2489.
- Li, Y., Zhang, X. and Huang, X. (2010). The Use of Plasma Actuators for Bluff Body Broadband Noise Control, Experiments in Fluids, Vol 49, No 2, p. 367–377.
- Xu, X. (2011). Plasma Actuation for Boundary Layer Separation Control in Engine Ducts (Doctoral dissertation, École Polytechnique de Montréal). (résumé)
- Versailles P (2010) Contrôle du retour de flamme dans le prémélangeur des turbines à gaz (Doctoral dissertation, École Polytechnique de Montréal).
- Lemire, S., Vo, H. D., & Benner, M. W. (2010). improvement of axial compressors and fans with plasma actuation. International Journal of Rotating Machinery, 2009 (résumé).
- Gimeno, L., Talbi, A., Viard, R., Preobrazhensky, V., Merlen, A., & Pernod, P. (2009). Microjets synthétiques MMMS pour les contrôles d’écoulements aérodynamiques. In Colloque de synthèse du GDR 2502 Contrôle des décollements (p. 149-158). Éditions Cépaduès.
- Huang, X., and Zhang, X. (2008). Streamwise and Spanwise Plasma Actuators for Flow-Induced Cavity Noise Control. Physics of Fluids, 20(3), 037101.
- Chaligné, S. (2013). Contrôle du sillage d'un corps non profilé : application expérimentale à une maquette simplifiée de véhicule industriel ; (Doctoral dissertation, Ecully, École centrale de Lyon) (résumé).
- Wei, Q. K., Niu, Z. G., Chen, B. and Huang, X (2012), "Bang-Bang Control Applied in Airfoil Roll Control with Plasma Actuators", AIAA Journal of Aircraft (arXiv:1204.2491)
- Shang, J.S. et al. (2005) Mechanisms of plasma actuators for hypersonic flow control. Progress in Aerospace Sciences 41 (2005) 642–668.
- E. Moreau. (2007), Airflow control by non-thermal plasma actuators, J. Phys. D: Appl. Phys., 40, 605–636.
- Huang, X., Chan, S., et Zhang, X. (2007). Un actionneur de plasma atmosphérique pour les applications aéroacoustique. IEEE Transactions on Plasma Science, 35 (3), 693-695.
- Rasool Erfani, Zare-Behtash H., C. Hale, Kontis K. développement d'actionneurs de plasma DBD:. Le double encapsulés électrode. `Acta Astronautica ', 109 (2015) 132-143. https://dx.doi.org/10.1016/j.actaastro.2014.12.016.
- Rasool Erfani, Zare-Behtash H., Kontis K. Plasma actuator: Influence of dielectric surface temperature. `Experimental Thermal and Fluid Science', 42 (2012) 258–264. https://dx.doi.org/10.1016/j.expthermflusci.2012.04.023.
- Roy, Subrata, and Chin-Cheng Wang. "Bulk flow modification with horseshoe and serpentine plasma actuators." Journal of Physics D: Applied Physics 42.3 (2009): 032004.
- Rasool Erfani, Zare-Behtash H., Kontis K. Influence de Shock Wave propagation sur barrière diélectrique plasma de décharge actionneur Performance. `Journal of Physics D: Physique appliquée», (2012). https://dx.doi.org/10.1088/0022-3727/45/22/225201
- Ed Peers, Xun Huang, and Zhaokai Ma, (2010). A numerical model of plasma effects in flow control. Physics Letters A, 374 (13-14), 1501–1504.
- Ed Peers, Xun Huang, and Zhaokai Ma, (2010). A numerical model of plasma effects in flow control. Physics Letters A, 374 (13-14), 1501–1504
- Rasool Erfani, Tohid Erfani, Kontis K. and Utyuzhnikov S. (2013) Optimisation of multiple encapsulated electrode plasma actuator. Aerospace Science and Technology 26 120–127
- Huang, X., Chan, S., Zhang, X., & Gabriel, S. (2008) Variable structure model for flow-induced tonal noise control with plasma actuators, AIAA journal, 46(1), 241-250 (résumé et bibliographie)
- Portail de l’électricité et de l’électronique
- Portail de la physique